ГОЛОВОНО́ГИЕ МОЛЛЮ́СКИ
-
Рубрика: Биология
-
-
Скопировать библиографическую ссылку:
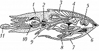
ГОЛОВОНО́ГИЕ МОЛЛЮ́СКИ (Cephalopoda), класс морских, наиболее высокоорганизованных среди моллюсков, животных. Тело (длина от 1 см до 18 м) двусторонне-симметричное, разнообразно окрашено; многие Г. м. способны менять окраску и рельеф кожи, сливаясь с фоном; есть светящиеся формы. Голова отделена от туловища шейным перехватом. На ней имеются два способных фокусировать изображение глаза; вокруг ротового отверстия в 1–2 ряда расположены щупальца (8, 10 или более 90), которые снабжены присосками или роговыми крючьями и служат для захвата и удержания добычи (часто их называют руками). Челюстной аппарат в виде хитинового клюва. У примитивных форм (наутилус) раковина наружная, разделена на регулярные камеры, пронизанные трубкой-сифоном; у остальных она либо расположена внутри тела и представлена известковой (сепион) или роговой (гладиус) пластинкой, либо полностью отсутствует. Туловище Г. м. окружено мантией, которая на спинной стороне прирастает к внутренностному мешку, а на брюшной ограничивает мантийную полость. Спереди мантия открывается щелью вокруг шейного перехвата. Под головой расположена воронка – видоизменённая часть ноги моллюсков, представляющая собой мускулистую коническую складку или трубку, широким концом направленную в мантийную полость. Во время плавания через неё с силой выталкивается вода, попадающая в мантийную полость; периодически возникающая реактивная сила (циклы следуют один за другим) толкает Г. м. в противоположную сторону задним концом тела вперёд. Спасаясь от хищников, некоторые Г. м. (кальмары) могут выпрыгивать из воды, преодолевая расстояние до 30 м. В минуту опасности Г. м. выпускают из воронки струю секрета чернильной железы, окрашивающего воду в чёрный цвет, и скрываются от врага под её прикрытием.
У Г. м. хорошо развита нервная система; головной ганглий (нередко его называют головным мозгом), располагающийся внутри хрящевого образования (т. н. черепа), по развитию превосходит головной мозг рыб. Кровеносная система замкнутая. Большинство Г. м. раздельнополые. Мужские половые продукты заключены в капсулы – сперматофоры, которые при спаривании переносятся в мантийную полость или семяприёмники самки при помощи гектокотиля. Кладки оплодотворённых яиц прикрепляются к подводным предметам, щупальцам самки или свободно плавают в воде. Из яиц выходят маленькие сформированные животные. У мн. видов выражена забота о потомстве. Г. м. размножаются один раз, затем погибают (исключение составляют аргонавты).
Совр. фауна Г. м. насчитывает ок. 650 видов, составляющих два подкласса: четырёхжаберные (Tetrabranchia), с единств. родом наутилус, и двужаберные (Dibranchia, или Coleoidea), к которым относятся вампироморфы, каракатицы, кальмары, осьминоги и др. Г. м. распространены в водах с солёностью не ниже 30‰. Пелагические хищники; питаются рыбой, ракообразными и моллюсками, включая собств. молодь. В свою очередь, Г. м. служат пищей крупным рыбам, морским млекопитающим и птицам. Большинство Г. м. пригодны в пищу, многие являются объектами промысла.
Известно св. 11 тыс. видов вымерших Г. м. В палеозое господствовали наружнораковинные Г. м.; наиболее древние из них обнаружены в отложениях кембрия (ок. 530 млн. лет). Первые внутрираковинные формы появились в девоне. Для мезозойской эры характерны наружнораковинные аммониты, внутрираковинные белемниты; в отложениях этой эры обнаруживают также остатки прямых предков современных Г. м. Благодаря широкому распространению, разнообразию и быстрой смене фаун ископаемые Г. м. широко используются для стратиграфии палеозойских и мезозойских отложений.



